|
 |
|
Nei motori a
combustione, la dosatura della miscela viene preparata all'esterno della
camera di combustione:
la miscela viene aspirata dai pistoni nel loro moto discendente,
compressa nella
camera di combustione nella fase successiva di risalita degli stessi,
innescata dalla
scintilla della candela comandata dall'impianto di accensione. Il calore
che
si sviluppa nella
combustione, aumenta la pressione dei gas precompressi nella camera di
combustione,
spingendo sul cielo del pistone, costringendolo verso il basso,
trasmettendo il
moto tramite la
biella, all'albero motore, trasformando un moto alternativo in moto
meccanico
rotante. |
|
4Tempi |
|

E'
utile ricordare che i normali motori alternativi sfruttano un cinematismo
biella-manovella, così che a un giro completo dell'albero motore, ovvero
della manovella, corrisponda un "ciclo" completo (salita e discesa) del
pistone.
E che la valvola "di aspirazione" è frapposta tra il cilindro e il
condotto di alimentazione, mentre quella "di scarico" fra il cilindro e lo
scappamento.
- A
cilindro
- B
pistone
- C
biella
- D
manovella
In
questo articolo ne illustriamo in modo chiaro la sequenza, riferendoci ad
un insieme pistone-cilindro di un generico motore a valvole in testa. |
|
Le 4
fasi |

Fase di ASPIRAZIONE
Il pistone, partendo dal Punto Morto Superiore (PMS), si allontana
scendendo dalla testa del cilindro: la valvola d'ammissione (valvola di
aspirazione) è aperta, permettendo l'aspirazione all'interno del
cilindro della miscela fresca aria/carburante |

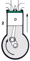
Fase di COMPRESSIONE
Il pistone, giunto al Punto Morto Inferiore (PMI), dove si chiude la
valvola di aspirazione, inverte il moto spostandosi verso la testa del
cilindro, comprimendo (le valvole sono entrambe chiuse) la miscela
fresca di aria e carburante |
|
ACCENSIONE
Quando il volume fra cielo del pistone e tetto del cilindro (camera di
combustione) è al minimo (pistone al PMS), la miscela viene incendiata
dalla scintilla prodotta dalla candela e inizia la combustione
(attenzione! Non si tratta assolutamente di scoppio, ma di veloce e
graduale combustione).
Fase di ESPANSIONE
La combustione determina una rapida espansione del gas che esercita
un'intensa pressione sulle pareti della camera e in particolare sul cielo
del pistone che, essendo "mobile", si allontana dalla testa del cilindro
spingendo sulla manovella dell'albero: con le valvole ancora tutte
chiuse, si compie la terza corsa.
Si noti che questa è l'unica fase attiva, nel corso della quale il
motore produce energia utile. |

Fase di SCARICO
Il pistone, terminata al PMI la fase attiva, inizia la risalita con la
valvola di scarico aperta. I gas combusti vengono evacuati dal
cilindro: al termine di questa corsa il motore è pronto per ripetere
l'intero ciclo. |
|
|